世語圖說
2025年12月30日
聯繫我們
首頁
運動
12歲天才看齊全紅嬋?一年追79分有戲?對比陳芋汐張家齊都差太遠
2024-09-28
福寶寶
反饋
6
/
7
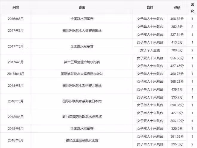
張家齊12歲時參與全國跳水冠軍賽,她的成績是408.55分冠軍,她12歲的成績比李蕊汐49.8分,張家齊的年齡可不比李蕊汐大一歲,張家齊也是12歲參與了全國賽,所以啊,李蕊汐跟這些世界冠軍、奧運冠軍的差距不是一星半點。
上一頁
6
/
7
下一頁
陳若琳也未想到,退步到第5名的全紅嬋,意外收穫口碑暴漲
福寶寶 • 50K次觀看
無緣冠軍一周,全紅嬋凌晨發文暴露真實現況,父親的擔心應驗了
董寬楓 • 16K次觀看
不愧是全紅嬋!全運會後乾了三件大事,比奪冠更有意義,全網刷屏
董寬楓 • 21K次觀看
又來了!突發內訌!勇士最快速度交易
伏嵐晨 • 16K次觀看
放棄10億終身合同!執意跳槽經營自己的品牌,庫里的野心不止於此
伏嵐晨 • 4K次觀看
涉嫌作弊,陳夢被取消4強資格?全運規則曝光,王勵勤不該犯錯
趙嵐楠 • 7K次觀看
王楚欽2一4出局!鄧亞萍點評一針見血,輸在3點因素,樊振東真穩...
伏嵐晨 • 5K次觀看
NBA震撼交易!掘金湖人達成4換2互換方案,詹姆斯聯手約基奇?
伏嵐晨 • 4K次觀看
為何0一4慘敗!陳夢賽後道出3大原因,王曼昱「一針見血」犀利點評
伏嵐晨 • 4K次觀看
好脾氣的何卓佳為何怒懟裁判?委屈落淚,孫穎莎出手,王勵勤不該犯錯
趙嵐楠 • 11K次觀看
難了,濃眉哥難了!勇士4換1交易方案曝光
伏嵐晨 • 8K次觀看
王曼昱為何4一2獲勝,樊振東奪冠採訪曾給出答案,孫穎莎心態變了
伏嵐晨 • 9K次觀看
女單決賽堪比神仙打架,鄧亞萍給出6字點評,最大贏家並非王曼昱
趙嵐楠 • 15K次觀看
回歸國家隊?全紅嬋時隔半年重返北京!獨自一人推行李箱,乘坐公務艙
福寶寶 • 7K次觀看
17歲全紅嬋有多少資產?看完數據後你會驚掉下巴!網友:我不羨慕
福寶寶 • 8K次觀看
全運會三個細節,看清樊振東好人品!恩師發聲,沒顧及林詩棟感受
伏嵐晨 • 5K次觀看
「她想戴幾塊就戴幾塊,我們都很寵她!」全紅嬋又有新消息!
福寶寶 • 4K次觀看
西蒙斯正式宣布破產!含淚請求快船給個機會,這次一定賣力打球
伏嵐晨 • 17K次觀看
成也飯圈敗也飯圈,樊振東碾壓王楚欽擊敗林詩棟奪冠,仍重返德國
趙嵐楠 • 15K次觀看
爆大冷!女團半決賽對陣出爐,衛冕冠軍被淘汰,孫穎莎連剃光頭!
伏嵐晨 • 5K次觀看
全運會男團4強出爐:世界冠軍2:3出局,樊振東苦戰,王楚欽剃光頭....
伏嵐晨 • 3K次觀看
全運會桌球!男團決賽名單誕生,樊振東剃光頭,世界冠軍一輸再輸
伏嵐晨 • 4K次觀看
克萊宣布加盟雷霆,願意放棄550萬和獨行俠完成買斷
伏嵐晨 • 12K次觀看
放棄山東投奔孫穎莎!王添藝換隊原因曝光,與勒布倫緋聞竟成關鍵
伏嵐晨 • 7K次觀看